
Zamki, dwory obronne, mury miejskie, grodziska
Forum miłośników średniowiecznych fortyfikacji (zał. 05 Lis 2007)
Barcelona posiada jedne z najlepiej zachowanych rzymskich baszt murów obronnych. Z pierwotnych 76. przetrwało aż 30 dobrze dziś widocznych rzymskich baszt (mury kilku dalszych są "ukryte" we wnętrzu późniejszych kamienic starówki), z czego aż 16 zachowało półkoliste okna najwyższych kondygnacji lub ich pozostałości. Okna "aktywnej" kondygnacji baszt (przeznaczonej dla balist - rzymskiej artylerii, w Barcelonie rozmieszczonych na 2 najwyższych poziomach) generalnie są bardzo rzadko zachowanym do naszych czasów elementem rzymskich fortyfikacji. W samym Rzymie, którego 19-to kilometrowe (zachowane 12 km) mury aureliańskie liczyły ponad 380 baszt, zachowało się do dziś wg moich obliczeń zaledwie 31 baszt z oknami lub ich zamurowanymi pozostałościami (wiele z nich silnie zmodyfikowanych w późniejszych epokach, albo restaurowanych), łącznie z basztami bramnymi (ale bez galerii nad przejazdami bram) plus 4 baszty Castro Pretorio z zamurowanymi pozostałościami okien (nawet jeśli przeoczyłem kilka, to nie zmienia to znacząco odsetka). Dla porównania mury Barcino miały długość tylko 1,3 km czyli dziesięcio- piętnastokrotnie mniejszą. W pozostałych najlepiej zachowanych murach rzymskich miast, nie licząc Konstantynopola, przetrwały tylko pojedyncze egzemplarze baszt z oknami. Na Półwyspie Iberyjskim jedynie w Lugo jest jedna rzymska baszta z oknami...
Z pierwotnie 76. baszt Barcelony, 61 było w planie prostokątnych, 5 okrągłych na załamaniach muru, 3 okrągłe przyległe do prostego odcinka muru, 1 pięcioboczna, 1 podkowiasta (prostokąt zakończony półkolem) prostopadła do muru i 1 podkowiasta ustawiona wzdłuż muru. Nieznany jest plan 4 baszt flankujących niezachowane bramy NE i SW - przypuszcza się, że mogły być wieloboczne.
Plany 30. zachowanych i dobrze widocznych baszt Barcelony, to:
- 1 pięcioboczna (baszta nr 6),
- 1 podkowiasta równoległa do muru - ustawiona wzdłuż muru (baszta nr 1 - jest to wschodnia baszta bramy północno-zachodniej),
- 2 okrągłe przyległe do prostego odcinka muru (baszta nr 76 - zachodnia baszta bramy północno-zachodniej oraz baszta nr 37 - wschodnia baszta bramy południowo-wschodniej - morskiej),
- 1 okrągła na załamaniu muru (baszta nr 33),
- 25 baszt prostokątnych (nr 2, 3, 7, 8, 9, 11, 12, 13, 14, 15, 16, 17, 21, 22, 23, 24, 25, 26, 27, 28, 35, 36, 73, 74 i 75).
W opisach używam tzw. tradycyjnej, ciągłej numeracji baszt stosowanej przez lata w literaturze przedmiotu. Ostatnio opracowano nowy system numeracji: mury podzielono na sektory, z których każdy ma oddzielną numerację, jednak system ten jest wg mnie mniej przejrzysty. Zresztą w nowych opracowaniach nadal podaje się dodatkowo w nawiasach tradycyjną numerację ciągłą.
Poza wspaniałymi basztami zachowały się też spore odcinki kurtyny muru, w tym kilka blank pod późniejszym nadmurowaniem (to też nieczęsto zachowany rzymski element), cokoły muru, odpływy kanałów odwadniających i co najmniej jedne schody na mur po jego wewnętrznej stronie.
Z pierwotnie 4 rzymskich bram Barcino przetrwały pozostałości 2 bram: północno-zachodniej i południowo-wschodniej (Morskiej), każda z 1 zachowanym, przesklepionym bocznym otworem dla pieszych (pierwotnie każda miała 1 duży przejazd środkowy i 2 mniejsze boczne).
Rzymska Barcelona została założona przez cesarza Augusta pomiędzy 15 a 13 r. p.n.e. jako Colonia Julia Augusta Paterna Faventina Barcino, w skrócie: Barcino. Przed przybyciem Rzymian, od III w. p.n.e. prawdopodobnie istniała tu osada założona przez Kartagińczyków (Fenicjan), którzy kontrolowali śródziemnomorskie wybrzeża Półwyspu Iberyjskiego, a po ich wycofaniu się z półwyspu, w III-II w. p.n.e. obszar ten zajęło iberyjskie plemię Laietani. Na monetach z tego czasu figuruje iberyjska nazwa Barkeno zapisana pismem iberyjskim.
Mury miejskie Barcino powstały w 2 fazach:
Faza 1 - ok. 10-5 r. p.n.e.
Pierwszy mur Barcino powstał z inicjatywy Augusta wkrótce po założeniu miasta. Poza małym odcinkiem południowym jego bieg pokrywał się z przebiegiem muru 2 fazy, który powstał przez jego rozbudowę. Miasto było założone na wzór rzymskiego obozu wojskowego, o prostokątnym kształcie ze ściętymi narożnikami (dostosowanymi do konfiguracji terenu) i 2 głównymi ulicami krzyżującymi się pod kątem prostym w centrum miasta (gdzie było forum) oraz siatką ulic bocznych. Cztery bramy zbudowano na wylotach głównych ulic. Wiadomo, że brama południowo-wschodnia (Morska) była zaopatrzona w 2 okrągłe wieże - przetrwał cokół wieży wschodniej. Brama północno-zachodnia nie miała wież. Nie wiadomo czy pozostałe odcinki muru miały jakiekolwiek baszty - przypuszcza się, że nie. Mur ten był niższy i cieńszy od muru 2 fazy. Jego wysokość ocenia się na maks. 9 m, a grubość tylko od 1,3 do 2 m. Wg niektórych badaczy, w czasach Augusta, w dobie braku realnych zagrożeń pełnił on głównie funkcję reprezentacyjno-prestiżową.
Dziś można zobaczyć zaledwie kilka małych fragmentów tego muru: w Muzeum Historii Barcelony (MUHBA) w obrębie podziemnej ekspozycji pod Placa del Rei - wewnętrzna strona muru oraz schody na mur; fragmenty muru przy basztach nr 3 i 37; pozostałości obu bram fazy 1: NW i SE.
Faza 2 - 270-300 r. n.e.
Widoczny dziś mur z basztami pochodzi z 2 fazy. Przez wiele lat trwała debata, czy powstał w III w., IV w. (ten pogląd przeważał) czy może nawet z V w. n.e., ale ostatnie badania weryfikacyjne potwierdziły datowanie na 2 poł. III w. W starszych opracowaniach i tablicach informacyjnych wciąż jednak spotkamy stwierdzenie, że jest z IV w.
Mur miał ok. 1300 m długości i biegł po linii muru 1 fazy - powstał poprzez jego znaczne poszerzenie od zewnątrz i podwyższenie. Jedynie na zachód od bramy południowo-wschodniej obwód miasta poszerzono o niewielką prostokątną część wystającą na południe od linii starego muru, tzw. Castellum, obejmujące m.in. termy - zmieniło to też układ bramy SE (Morskiej).
Grubość muru fazy 2 wynosi ok. 4 m, a wysokość ok. 10 m od cokołu do chodnika obrońców. Kolejne 1,5 m wysokości stanowił parapet z prostokątnymi blankami (blanki są widoczne m.in. pomiędzy basztami nr 22 i 23 oraz koło baszt nr 6 i 27).
Barcino miało 4 bramy ustawione na osiach kardynalnych arterii wybiegających z centralnego forum. Przetrwały fragmenty 2 bram: północno-zachodniej oraz południowo-wschodniej (Morskiej). Bramy były trójprzelotowe, z szerszym przejazdem centralnym i 2 mniejszymi, bocznymi przejściami dla pieszych. Przejazd i przejścia przykrywały łuki półkoliste. W 2 fazie każdą z bram flankowały 2 baszty, okrągłe, podkowiaste lub wieloboczne.
Mur zaopatrzono łącznie w 76 baszt rozmieszczonych gęsto, w dość regularnych odstępach co ok. 7-15 m. Wysokość baszt wynosiła od 18 do 20 m. Większość była prostokątna (61, w tym 25 dziś widocznych), poza basztami przybramnymi i w narożnikach murów - te są okrągłe (nr 33, 37 i 76), podkowiaste (nr 1) i wieloboczne (nr 6). Szczytowe ściany baszt prostokątnych mają długość od 4,5 do 6,5 m, a boki baszt mają długość 7-7,5 m. Do poziomu chodnika obrońców baszty są solidne. Powyżej znajdują się 2 kondygnacje pomieszczeń "bojowych", zaopatrzonych w sporej wielkości okna zamknięte łukami półkolistymi. W ścianie frontowej są 4 okna - po 2 na każdej z 2 kondygnacji. W każdej ścianie bocznej 3 okna - w dolnej kondygnacji po 1 oknie i 1 otworze drzwiowym prowadzącym na chodnik obrońców (drzwi są również zamknięte łukiem półkolistym), w górnej kondygnacji - po 2 okna. Dostęp do wyższej kondygnacji zapewniały zapewne drewniane schody lub drabiny we wnętrzu. Znany jest też co najmniej jeden przypadek (baszta nr 15) występowania otworu drzwiowego w bocznej ścianie górnej kondygnacji - zapewne dostępnego drabiną. Baszty okrągłe i wieloboczne również mają 2 kondygnacje pomieszczeń bojowych, z takimi samymi oknami. W tych pomieszczeniach "bojowych" znajdowała się ciężka artyleria rzymska - balisty. Okna zapewne mogły być zamykane drewnianymi okiennicami.
Okna lub ich pozostałości zachowały się w basztach nr: 2, 3, 6, 13, 15, 17, 22, 23, 24, 27, 28, 35, 36, 73, 74 i 76. Drzwi widoczne są m.in. w basztach nr: 15, 16, 17 i 35.
Istnieją kontrowersje odnośnie zwieńczenia baszt. Zazwyczaj przyjmuje się, że posiadały blanki analogicznie do muru, co oznaczałoby istnienie trzeciej kondygnacji bojowej - otwartego tarasu dachowego. Część badaczy wskazuje na pozostałości domniemanych blank szczytowych przy górnej krawędzi baszty nr 74. Inni opowiadają się za prostym zwieńczeniem baszt, bez blank.
Mury i niższe części baszt wykonano z dużych ciosów kamiennych łączonych zaprawą. Wnętrza masywnych murów zbudowano z nieobrobionych kamieni zalanych zaprawą. Powszechnie wykorzystywano też wtórnie detale architektoniczne z rozebranych budowli oraz kamienne nagrobki. Mur i baszty zaopatrzone są u dołu w profilowany cokół, często również wykonany z elementów użytych wtórnie (cokól jest widoczny m.in. w basztach nr: 14, 16, 22, 23, 25, 26, 27, 28, 36 i 37). W kilku miejscach w cokole muru widoczne jest ujście rzymskiego kolektora (pomiędzy basztami nr 14 i 15 oraz 23 i 24). Zwieńczenie niższej, solidnej części baszt na wysokości chodnika obrońców stanowił profilowany kamienny gzyms (widoczny m.in. w basztach nr: 2, 3, 6, 9, 11, 12, 15, 22, 23, 24, 25, 26, 27, 35 i 73).
Górne części baszt i parapet muru z blankami wykonano z mniejszych ciosów kamiennych z dodatkiem cegieł. Łuki okien - z klińców kamiennych lub cegieł. Pomiędzy obiema kondygnacjami okiennymi baszt oraz w ich zwieńczeniu (poniżej domniemanego krenelażu) wykonano 2 ceramiczne gzymsy z cegieł - dziś bardzo zniszczone i słabo widoczne.
Przynajmniej na niektórych odcinkach, ok. 4-6 m przed murem była fosa o głębokości od 5 do 10 m (dziś niewidoczna).
Mur 2 fazy, w pełni funkcjonalny i przystosowany do zaawansowanej obrony, powstał w odpowiedzi na ataki plemion barbarzyńskich, które w III w. n.e. zaczęły zapuszczać się w głąb Cesarstwa, stanowiąc realne zagrożeniem dla miast Imperium. Obfite użycie wtórnego budulca, w tym nagrobków, wskazuje na pewien pośpiech w dążeniu do zapewnienia skutecznej obrony Barcino.
Dalsze dzieje murów i baszt
Solidne i skuteczne mury rzymskie zapewniały ochronę Barcelonie do końca starożytności oraz w okresie wizygockim i wczesnośredniowiecznym - aż do XIII w. Od XI w. zaczęto wprowadzać modyfikacje - przy 4 bramach powstały 4 romańskie zameczki wzmacniające bramy. Zaczęto też adaptować niektóre baszty i odcinki murów na wczesnoromańskie budynki - np. w murze przy baszcie nr 6 widać XI-wieczne biforia - pozostałość po przybudowanej do muru wczesnoromańskiej kurii - od XV w. jest to część budynku Pia Almoina. Baszty od 11 do 15 wraz z murami pomiędzy nimi włączono w rozbudowywany zamek królewski (Palau Reial Major) - romański i gotycki. Proces adaptacji murów i baszt przyspieszył pod koniec XII i w XIII w. Zbudowano Pałac Biskupi (Palau Episcopal) z przyległościami, które wchłonęły bramę NW i baszty 75, 76, 1, 2 i 3. Baszta 15 stała się podstawą dzwonnicy królewskiej kaplicy św. Agaty, pomiędzy basztami 21 i 22 wzniesiono romański pałac, baszty 22, 23 i 24 włączono w późnoromański pałac Requesens itd. W tym czasie w wielu basztach pojawiły się romańskie biforia - są one widoczne w basztach nr: 3, 6, 23, 73, 74 i 76. W baszcie nr 1 w latach 50-tych otwarto neoromańskie biforium. W XIII i XIV w. wzniesiono nowe, gotyckie mury Barcelony obejmujące wielokrotnie większy obszar niż rzymskie jądro miasta. Mury rzymskie straciły funkcję obronną. Z czasem mury i baszty obudowano ze wszystkich stron nowymi budynkami. Wyburzeniu uległo zaledwie kilka nieiwelkich fragmentów (np. w XV w. wyburzono mur między basztami 3 i 6, wraz z basztami 4 i 5, w celu otwarcia szerokiego dojścia do fasady katedry, wyburzono też mury na wylotach ulic). Dobry stan zachowania murów i baszt rzymskich wynika właśnie z "obrośnięcia" ich tkanką miejską, co uchroniło je przed planowym niszczeniem.
Pod koniec XIX w. doceniono historyczną wartość obwarowań rzymskich i rozpoczął się, trwający do dziś proces ich dokumentacji, badania i odsłaniania. Na początku XX w. wyburzono budynki przy okazji otwarcia Via Laietana i Placa Ramon Berenguer odsłaniając i oczyszczając rzymskie baszty 13, 14 i 15 wraz z elementami romańskimi i gotyckimi zamku królewskiego i kaplicy św. Agaty. W latach 50. XX w. wyburzono cały blok zabudowy, uszkodzonej bombardowaniami, przy obecnym Placa Nova na przedpolu katedry i bramy NW, odsłaniając i konserwując baszty 1, 2 i 3. Później m.in. wyburzono budynek skrywający narożną basztę 33 przy Placa Traginers, usunięto kamienicę przy ul. Carrer de la Palla 14-16 tworząc niewielki skwer i odsłaniając zamykające go baszty 73 i 74 oraz mur. Udostępniono basztę nr 37 i pozostałości bramy SE na 2 ekspozycjach. Udostępniono baszty nr 35 i 36 na podwórku pomiędzy kamienicami, na tyłach Pati Llimona. W 2012 r. wyburzono XIX-wieczne kamienice przy ul. Carrer del Sots-Tinent Navarro i Placa Carme Simo odsłaniając baszty nr 27 i 28 z odcinkiem muru - tworzą one obecnie tylną ścianę nowego placu zabaw. Planuje się tu kolejne wyburzania budynków w celu odsłonięcia dalszego, kilkudziesięciometrowego odcinka muru obejmującego 4 baszty, które nadal tkwią wewnątrz bloku zabudowy. Niemal każdego roku odkrywane, dokumentowane lub adaptowane do różnych celów są też baszty i odcinki muru zachodniego, tkwiące głęboko w tkance zabudowy po wschodniej, północno-wschodniej i północnej stronie ulic: Carrer d'Avinyo, Carrer del Call i Carrer dels Banys Nous.
Gdzie można zobaczyć mury, baszty i bramy Barcelony?
Mury rzymskie tworzyły pierścień wokół dzisiejszej centralnej części Barri Gotic - barcelońskiej starówki, na południe i wschód od katedry. Najlepiej zachowana i widoczna jest jego część północna i wschodnia oraz częściowo południowa.
Północno-zachodnia brama z basztami nr 76 i 1 znajduje się u wylotu ulicy Carrer del Bisbe na Placa Nova (duży plac przed katedrą). Poza obiema basztami bramnymi zachowało się zachodnie przejście dla pieszych, przesklepione łukiem - dziś w obrębie późniejszej obudowy pałacu biskupiego, widoczne przez kratę u podnóża baszty zachodniej (nr 76). Okrągła baszta nr 76 zachowała kilka zamurowanych okien obu kondygnacji. Ma też XIII-wieczne biforium romańskie (stanowi część romańskiego Pałacu Biskupiego). Przy wschodniej baszcie bramnej (nr 1) zachowały się oryginalne pozostałości rzymskiego akweduktu, na którym wzniesiono wschodnią część tej podkowiastej baszty oraz rekonstrukcja (z lat 50-ych) jednej arkady tego akweduktu przed basztą. Baszta ma neoromańskie biforium.
Linia murów od baszty nr 1, poprzez basztę nr 2 do baszty nr 3 tworzy południowo-wschodnią pierzeję Placa Nova, pomiędzy Pałacem Biskupim a katedrą. Obie prostokątne baszty nr 2 i 3 są świetnie zachowane, wraz z oknami. Baszta nr 2 ma komplet 4 okien frontowych i jedno okno na ścianie zachodniej. Baszta nr 3 ma 3 okna frontowe - jedno zostało zastąpione romańskim biforium - oraz 2 okna w ścianie wschodniej. Po jej wschodniej stronie, gdzie mur został wyburzony (na wprost katedry) widać "przekrój" kurtyny muru z III w. n.e. wraz ze starszą kurtyną z I w. p.n.e. Fragmencik cokołowej części muru Augusta widać też u podnóża baszty, przy współczesnym tarasie obok schodów.
Narożna baszta nr 6 (świetnie zachowana baszta pięcioboczna, z oknami) i dolny fragment prostokątnej baszty nr 7 znajdują się "z tyłu" budynku Pia Almoina (Muzeum Diecezjalne) na lewo od fasady katedry. "Z tyłu" czyli po przeciwnej stronie niż katedra. Wnętrze baszty nr 6 można podziwiać w Muzeum Diecezjalnym. Stała się ona częścią średniowiecznego budynku. Zachowała 7 okien na 2 kondygnacjach, pozostałości kolejnego, zamurowanego okna oraz romańskie biforium (XIII w.). Z zewnątrz widać 5 rzymskich okien i romańskie biforium. Pozostałe 2 rzymskie okna widać tylko od strony wnętrza Muzeum Diecezjalnego. Odcinek muru między basztami 6 i 7 jest również częścią budynku Pia Almoina (Muzeum Diecezjalne). Widać tu fragment oryginalnej rzymskiej blanki oraz 2 wczesnoromańskie biforia z XI w. (biforia te widać też w muzeum). Z baszty nr 7 pozostał tylko fragment przyziemia.
Ciąg murów od baszty nr 8 do nr 17 biegnie wzdłuż ulicy Carrer de la Tapineria i Placa de Ramon Berenguer el Gran. Dobrze zachowane są tu zwłaszcza 3 baszty z oknami: baszta nr 13 - nieco wtopiona w romańską i gotycką "obudowę" (element dawnego zamku królewskiego Palau Rial Major), widoczna z Placa Ramon Berenguer; baszta nr 15 - dziś podstawa dzwonnicy dużej kaplicy zamkowej św. Agaty z 1302 r., również widoczna z Placu Ramona Berenguera (w baszcie, poza oknami widoczne są m.in. nietypowe drzwi wyższej kondygnacji obronnej, a w cokole muru na prawo od baszty widać ujście rzymskiego kolektora) oraz baszta nr 17 widoczna z ulicy Carrer de la Tapineria - zachowała wszystkie okna i drzwi niższej kondygnacji bojowej i fragment kondygnacji wyższej z 1 oknem. Wnętrze baszty nr 17, jej okna i drzwi można zwiedzać - wejście znajduje się z górnej kondygnacji Muzeum Historii Barcelony (MUHBA). Wychodząc przez zachodnie drzwi tej baszty na koronę rzymskiego muru możemy przejść przez basztę nr 16 (niezachowana kondygnacja bojowa - dziś to tylko taras z widokiem na mury) i podejść z bliska do bocznej ściany baszty nr 15, oglądając m.in. górne drzwi. Przechodząc do podziemnej kondygnacji muzeum MUHBA, pod Placa del Rei, gdzie eksponowane są pozostałości rzymskiej i wizygockiej zabudowy, możemy wejść do częściowo wybranego wnętrza dolnej, solidnej części baszty nr 16. Widać tam zarówno konstrukcję baszty, wnętrze muru jak i tkwiące w nim liczne nagrobki rzymskie. Na tej samej ekspozycji muzealnej widać też mur fazy 1 z czasów Augusta, wraz z przybudowanymi od wnętrza miasta schodami na mur...
Kolejny odcinek muru ze świetnie zachowanymi basztami od nr 21 do 26 biegnie wzdłuż ulicy Carrer del Sots-Tinent Navarro i placu Placa d'Emili Vilanova - od Placa de l'Angel do ul. Baixada de Cacador. Najwspanialej prezentują są zwłaszcza baszty nr 22 i 23, zachowane w pełnej wysokości, z kompletem okien. Na koronie rzymskiego muru pomiędzy tym basztami zachowały się świetnie 2 oryginalne blanki. Doskonały stan zachowania wynika z faktu, że w okresie romańskim (XIII w.) obie baszty i mur między nimi zostały nadbudowane i stały się częścią romańsko-gotyckiego Pałacu Requesens (widać kilka romańskich biforiów w nadbudowanej wieży nr 23). Być może wnętrza baszt są dostępne od strony wnętrz pałacowych (?), ale jego zwiedzanie jest możliwe tylko przy specjalnych okazjach. Kolejna baszta nr 24 ma zrekonstruowaną kondygnację okienną. W średniowieczu była ona również częścią tego samego pałacu. W cokole muru na prawo od baszty nr 24 widać ujście rzymskiego kolektora. Wracając: pomiędzy basztami 21 i 22 rozpina się romański łuk nad którym również wzniesiono romański pałac - zachowały się pozostałości 2 dużych okien z XII-XIII w. Baszta nr 25 ma ozdobny profilowany cokół, ale obecnie jest on słabo widoczny, gdyż... przysypano go żwirkiem nawierzchni. Baszta nr 26, na rogu ulic Carrer del Sots-Tinent Navarro i Baixada de Cacador, posiada najładniejszy ozdobny cokół, wykonany zapewne z elementów użytych wtórnie.
Baszty nr 27 i 28 z odcinkiem muru odsłonięto w 2012 r. z XIX-wiecznej zabudowy przy placu Placa Carme Simo, po drugiej stronie ulicy Baixada de Cacador. Tworzą one obecnie tylną ścianę nowego placu zabaw. Baszta nr 27 ma dwa zamurowane okna w bocznej ścianie zachodniej. Odcinek muru na prawo od baszty ma fragment rzymskiej blanki. Na baszcie nr 28 widać 2 zamurowane okna rzymskie (lepiej je widać od strony wnętrza, ale z tego co wiem nie jest ono dostępne). Obie baszty mają ładne, profilowane cokoły. Dalszy odcinek muru obejmujący 4 baszty jest niestety niewidoczny i tkwi nadal wewnątrz bloku zabudowy. Docelowo planuje się uwidocznienie tego odcinka...
Kolejny widoczny krótki fragment muru z narożną, okrągłą basztą nr 33 znajduje się przy małym, trójkątnym placyku Placa dels Traginers. Baszta jest ciekawa z powodu swego kształtu i dobrze widoczna, jednak niestety nie zachowała kondygnacji okiennej.
Dalej sprawy trochę się komplikują. Aby zobaczyć następny odcinek muru z basztami nr 35 i 36 należy z Placa dels Traginers wejść w wąską ulicę Carrer del Correu Vell i na pierwszym skrzyżowaniu - z uliczką Carrer d'En Groc - skręcić w prawo (na północny zachód), w wąskie przejście pomiędzy kamienicami. Dochodzimy nim na podwórko otoczone ze wszystkich stron budynkami. Baszty 35 i 36 oraz mur tworzą północno zachodnią ścianę podwórka, naprzeciwko wejścia. Baszta nr 35 jest też widoczna od strony wnętrza Centrum Obywatelskiego Pati Llimona. Zachowała zamurowane drzwi i okno w bocznej ścianie - widoczne z wnętrza Pati Llimona. Baszta nr 36 ma fragment zamurowanego okna we wschodniej ścianie widocznej od wspomnianego podwórka.
Pozostałości Bramy Południowo-Wschodniej, zwanej też Bramą Morską, wraz z jej wieżą wschodnią (baszta nr 37) i przyległym odcinkiem muru, są widoczne z 3 różnych miejsc:
- z zewnątrz - z ulicy Carrer del Regomir 5. Z ulicy widać zewnętrzny łuk bocznego, wschodniego przejścia Bramy SE (Morskiej), przez szyby - dalszą część bramy i basztę nr 37;
- z wnętrza ekspozycji będącej oddziałem Muzeum Historii Barcelony (MUHBA) o nazwie "Porta de Mar" lub "Porta de Mar i les Termes Romanes Portuaries", wejście od ulicy Carrer del Regomir 7-9, otwarte tyko w niektóre dni tygodnia w określonych godzinach - należy sprawdzić na stronie Muzeum tutaj. Widać tu najlepiej: bramę SE, drugą fazę baszty nr 37 oraz przyległy mur od strony zewnętrznej - z kilku poziomów, a także pozostałości łaźni rzymskich. Przez szybę widać też baszty nr 35 i 36 na przyległym podwórku;
- z wnętrza Centre Civic Pati Llimona (ogólnodostępne centrum kulturalno-wystawiennicze - Pati Llimona ), wejście od podwórka dostępnego przejściem z ulicy Carrer del Regomir 3. Widać tu najlepiej: Bramę Morską (SE), pierwszą (augustiańską) fazę baszty nr 37, wewnętrzną stronę muru rzymskiego oraz boczną ścianę baszty nr 36 z zamurowanym oknem i drzwiami (widać je tylko z tego miejsca).
Zachodnie odcinki muru z basztami tkwią głęboko w tkance zabudowy po wschodniej, północno-wschodniej i północnej stronie ulic: Carrer d'Avinyo, Carrer del Call i Carrer dels Banys Nous. Widać je w niektórych sklepach, restauracjach, barach, wnętrzach różnych instytucji i apartamentów prywatnych, piwnicach itp. Niestety dostępność ich jest czasem efemeryczna, krótkotrwała i często zmienia się wraz ze zmianą użytkowania wnętrz, czasem jest skomplikowana i utrudniona. Mnie dotychczas udało się zobaczyć jakieś fragmenty muru w jednym ze sklepów, ale niczego bliższego o nich nie wiem. To jeszcze przede mną...
Na ulicy Carrer del Call nr 5-7 widać "przekrój" muru, ponoć obu faz. Stanowi on część fasady przy ulicy. W pobliżu znajduje się baszta nr 62 - ma być widoczna we wnętrzu jednego ze sklepów, ale nie udało mi się jej znaleźć...
Rzymski mur z basztami nr 73 i 74 tworzy tylną (południowo-wschodnią) ścianę niewielkiego, zadrzewionego skweru powstałego w miejscu wyburzonej kamienicy przy ul. Carrer de la Palla 14-16 (zaledwie ok. 30 m od wspomnianego na początku opisu Placa Nova). Baszta nr 73 (ta po prawej) ma w szczytowej ścianie 2 zamurowane okna rzymskie i romańskie biforium z XIII w. Baszta nr 74 (lewa) w bocznej ścianie (zachodniej) ma fragmenty 2 zamurowanych okien rzymskich, w ścianie szczytowej 2 zamurowane okna rzymskie i fragment trzeciego oraz mocno restaurowane romańskie biforium. W zwieńczeniu tej baszty badacze dopatrują się śladów krenelażu, ale ja nie bardzo je widzę (?). Problem z opisywanym odcinkiem muru i basztami 73 i 74 polega na tym, że skwerek jest zamknięty kratą od strony ulicy i obsadzony trzema drzewami, których ulistnione korony dość skutecznie zasłaniają baszty obserwowane zza kraty (od ulicy). Podobnie jak gęste pnącze przy baszcie nr 74. Właściwie widać tylko fragmenty baszt i muru w prześwitach koron. Należało by tu chyba być w okresie bezlistnym. Albo trafić na moment otwarcia drzwi w kracie skwerku, który jest okresowo użytkowany jako boisko pobliskiej szkoły. Mnie raz udało się wejść za kratę podczas zajęć szkolnych - za zgodą opiekunów, ale przyznaję, że bardzo niechętną zgodą i tylko na króciutko...
Baszta nr 75 stanowi podstawę wieży Pałacu Biskupiego i w zasadzie jest niedostępna do obserwacji. Widać tylko górną część nadbudowanej wieży - i to z pewnej odległości, np. z Placa Nova lub z opisanego wyżej skwerku.
W sieci pojawiają się regularnie doniesienia o "odkryciach" nowych odcinków murów i baszt oraz o ich udostepnieniach w obrębie zabudowy. Istnieją plany szerszego udostępnienia kilku takich lokalizacji, więc sprawa jest rozwojowa...
Moje zdjęcia z maja i września 2023 r. oraz z września 2024 r.
Lokalizacja murów (pełen obwód - stan pierwotny)







Mury rzymskie wewnątrz murów średniowiecznych Barcelony


Mur fazy I (10 - 5 r. p.n.e.) - stan pierwotny

Mur fazy II (240 - 300 r. n.e.) - stan pierwotny (ciemne - odcinku udokumentowane, jasne - hipotetyczne)

Mur fazy I. Czarne - odcinki udokumentowane, białe - hipotetyczne

Mur fazy II. Czarne - odcinki udokumentowane, białe - hipotetyczne

Mur fazy II. Czerwone - odcinki zachowane i widoczne, wraz z numeracją baszt (tradycyjną); czarne - odcinki udokumentowane lecz obecnie niewidoczne lub trudne do zobaczenia; białe - hipotetyczne

Pełen obwód muru fazy II

Żółte - odcinki widoczne, z ciągłą numeracją baszt



Mur fazy II z nową numeracją baszt (w nawiasach numeracja tradycyjna, ciągła)



Rekonstrukcja Barcelony w czasach Augusta (mur fazy I)

Rekonstrukcja Barcelony pod koniec III w. n.e. (mur i baszty fazy II)

Mur fazy II i baszty - rekonstrukcja stanu pierwotnego wg tablic informacyjnych





Wersja rekonstrukcji baszt bez blank

Mur i baszty (od lewej: 3, 2, 1, 76) przy Placa Nova


Mur i baszty nr 22, 23 i 24 przy ul. Carrer del Sots-Tinent Navarro


cdn.
Brama Północno-Zachodnia
Brama Północno-Zachodnia czyli Porta Decumana Occidental, zwana w średniowieczu Bramą Biskupią (Porta del Bisbe) znajduje się u wylotu ulicy Carrer del Bisbe na plac Placa Nova.
Powstała w 1 fazie budowy murów Barcelony, za czasów Augusta, między 10 a 5 r. p.n.e. Była to brama trójprzelotowa, z większym, centralnym przejazdem i dwoma bocznymi, mniejszymi przejściami dla ruchu pieszego po bokach. W czasach Augusta nie posiadała wież. Po jej wschodniej stronie do miasta wchodził przez mur akwedukt. Z tego czasu zachował się zachodni, boczny łuk i sklepione przejście dla ruchu pieszego. Obecnie skrywa się ono we wnętrzu późniejszych rozbudów, widoczne za kratą u podnóża baszty zachodniej (nr 76). Pozostały też boczne elementy obu fasad głównego przejazdu oraz pozostałości przejścia wschodniego (dziś w obrębie Casa de l'Ardiaca). Niestety łuk głównego przejazdu został wyburzony.
W drugiej fazie rozbudowy murów (270-300 n.e.) mur poszerzono od zewnątrz, a bramę zaopatrzono w dwie flankujące ją wieże (baszty nr 76 - zachodnia i nr 1 - wschodnia). Baszty opiszę oddzielnie.
W głównym przejeździe zachowały się elementy bramy, w tym cokoły, fragmenty ciosowych ścian, gniazdo dolnego zawiasu drzwi po stronie wschodniej, otwór rygla bramy po stronie zachodniej oraz - z 1 fazy - cios z wyrytym znakiem Czwartego Legionu Macedońskiego - Legio IIII Macedonica, z czasów augustiańskich. Żołnierze tego legionu, utworzonego w 48 r. p.n.e. przez Juliusza Cezara w celu rozprawy z Pompejuszem w Grecji, a następnie zakwaterowanego w Macedonii, zostali wysłani przez Augusta w 23 r. p.n.e. do Hiszpanii w ramach kampanii przeciwko Kantabryjczykom, by następnie zostać skierowanymi do budowy infrastruktury, w tym murów 1 fazy w Barcelonie. Zostali oni osadzeni w Barcelonie i Saragossie. Tworzyli więc, wraz z weteranami z legionu VI Victrix i Decima Gemina, pierwszych rzymskich osadników Barcino.
W średniowieczu brama NW została wchłonięta przez kompleks Pałacu Biskupiego - zwłaszcza podczas jego rozbudowy pod koniec XII i w XIII w. Nastąpiły spore modyfikacje budowlane, w wieży zachodniej osadzono romańskie biforium (to we wschodniej wieży jest neoromańskie), obudowano przejścia boczne, zmodyfikowano górną część głównego przejazdu (nie zachowaną) itd. Z czasem wyburzeniu uległ główny przejazd bramny. W latach 1950. oczyszczono i zakonserwowano obie wieże bramne oraz zachowane elementy bocznych ścian przejazdu głównego i sklepione przejście boczne...

Brama NW: po lewej faza I (10-5 p.n.e.), po prawej faza II (270-300 n.e.)

Ciemniejsze - faza I, jaśniejsze - zewnętrzna rozbudowa muru i baszty fazy II. Widać też filary akweduktu z czasów Augusta i po lewej basztę nr 2


Rekonstrukcja fasady bramy w fazie I (augustiańskiej). Po prawej zachowany łuk przejścia bocznego


Przybliżona rekonstrukcja fazy II, z wieżami (nr 76 i 1)

Brama NW na obrazie z XVII w. Widać istniejący jeszcze wówczas ganek-korytarz między wieżami, który jednak opiera się na średniowiecznym łuku rozpiętym niejako przed właściwym przelotem bramy. Jest to więc element wtórny - być może poszerzenie oryginalnej rzymskiej galerii bramnej (?). Oryginalne elementy rzymskie są widoczne pod gankiem pomiędzy łukami i pod dolnym łukiem


Po prawej baszta nr 76 - obecnie część Pałacu Biskupiego, po lewej baszta nr 1 z akweduktem. Pomiędzy nimi ulica Carrer del Bisbe. Widok z Placa Nova. Niestety jest to bardzo ruchliwe wejście do centrum starówki (Barri Gotic)...









Brama Północno-Zachodnia cz. 2
Przejazd bramny, bez zachowanego przesklepienia, jest częścią dawnego środkowego przejazdu trójprzelotowej bramy.
Zachowały się tu elementy rzymskiej bramy, w tym cokoły, fragmenty ciosowych ścian, gniazdo dolnego zawiasu drzwi po stronie wschodniej, różne otwory oraz - z 1 fazy - cios z wyrytym znakiem Czwartego Legionu Macedońskiego - Legio IIII Macedonica
Wschodnia strona przejazdu:





Gniazdo dolnego zawiasu (sworznia) drzwi



Zachodnia strona przejazdu:






Niedawno "odkryty" i zbadany, wyryty na kamiennym ciosie znak Czwartego Legionu Macedońskiego - Legio IIII Macedonica, z czasów Augusta. Żołnierze tego legionu, utworzonego w 48 r. p.n.e. przez Juliusza Cezara w celu rozprawy z Pompejuszem w Grecji, a następnie zakwaterowanego w Macedonii, zostali wysłani przez Augusta w 23 r. p.n.e. do Hiszpanii w ramach kampanii przeciwko Kantabryjczykom, by następnie zostać skierowanymi do budowy rzymskiej "infrastruktury strategicznej" - w tym murów 1 fazy w Barcelonie. Zostali oni osadzeni w Barcelonie i Saragossie. Tworzyli więc, wraz z weteranami z legionu VI Victrix i Decima Gemina, pierwszych rzymskich osadników Barcino. Bardzo ważny z historycznego i chronologicznego punktu widzenia detal.
Lokalizacja znaku

Znak w zbliżeniu

Rekonstrukcja znaku:

Brama Północno-Zachodnia cz. 3
Zachodnie przejście boczne bramy. Zachowały się łuki fasad i sklepienie oraz ściany przejścia - skrywają się obecnie w późniejszej obudowie. Widać je tylko przez kratę w prostokątnym otworze u podstawy wieży zachodniej (nr 76) - poniżej dzisiejszego poziomu ulicy Carrer del Bisbe. Jest tu widoczny zewnętrzny, ciosowy łuk otworu bramnego oraz korytarz przejścia.
Niestety oczka tej kraty są wyjątkowo małe, a same ogniwa grube, co powoduje, że: po pierwsze jak się nie wie co jest za kratą, to się nic nie zobaczy (bramę widać tylko z bliska, a żeby dojść do kraty trzeba zejść z poziomu ulicy), po drugie niezwykle ciężko zrobić przez te maleńkie oczka zdjęcie. Stąd moje fotki obejmują fragmenty przelotu bramnego i mają dziwny kształt - wyciąłem je z oczek kraty...
Otwór bocznego - zachodniego przejścia w fasadzie północnej bramy NW (faza I, 10-5 r. p.n.e.)

Lokalizacja kraty za którą widać przejście




















Baszta nr 76
Jest to zachodnia (prawa patrząc od zewnątrz, od Placa Nova) wieża bramy NW, o kształcie cylindrycznym. Fragmentarycznie jest widoczny cokół. W na dwóch kondygnacjach "bojowych" przetrwały ślady zamurowanych 4 okien rzymskich - 3 w niższej i jeden, słabo widoczny fragment w wyższej. Widać też pozostałości ceglanych, rzymskich gzymsów międzykondygnacyjnych.
We wczesnym średniowieczu wieża została włączona w różne budowle (romański zameczek, potem kompleks biskupi). Pod koniec XII i w XIII w. weszła w skład nowego Pałacu Biskupiego (Palau Episcopal). z tego czasu pochodzi romańskie biforium. Z czasem frontowo-zachodnia część baszty uległa wtopieniu w nowszą zabudowę, lico baszy uległo licznym przemurowaniom, zamurowano rzymskie okna, wybito nowe otwory, dodano gzymsy itd. W latach 1950. przeprowadzono kompleksową renowację, konserwując m.in. oryginalne wątki rzymskie.








Podstawa baszty z fragmentarycznie widocznym cokołem









Pozostałości rzymskiego, ceglanego gzymsu pomiędzy kondygnacjami okiennymi:

Rozwarstwienie murów fasady: czerwony - wątek rzymski (270-300 n.e.). Widać pozostałości 4 rzymskich okien i romańskie biforium

Moja numeracja rzymskich okien - zgodnie z dalszym opisem

Pozostałości czterech rzymskich okien

Okno nr 1


Okno nr 2




Okno nr 3


Okno nr 4 - w wyższej kondygnacji


Romańskie biforium (XIII w.)


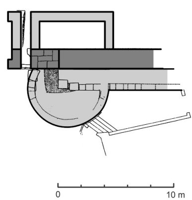
Baszta nr 1
Jest to wschodnia (lewa patrząc od zewnątrz, od Placa Nova) wieża bramy NW, o kształcie podkowiastym (część prostokątna i część półkolista), ustawiona równolegle do muru. Ten nietypowy plan i układ wynika z faktu, że baszta została zbudowana na pierwszych łukach i filarach dwóch akweduktów z czasów augustiańskich, które w tym miejscu przekraczały mur fazy 1. To wymusiło prostokątny kształt części wschodniej. Jednocześnie dla utrzymania cylindryczności wieży bramnej, jej część zachodnią uformowano na planie półkola.
"Wolne" łuki akweduktów, poza częściami zintegrowanymi z basztą, nie zachowały się, jednak w latach 1950. zrekonstruowano jeden łuk akweduktu wschodniego. Zachodniego nie odtworzono prawdopodobnie dlatego, że jego oryginalna część (przekrój) w obrębie fasady baszty została wykorzystana do budowy małej kapliczki. Baszta nie zachowała oryginalnych okien ani gzymsów.
W średniowieczu, wraz z całą bramą została włączona w kompleks pałacu biskupiego. Obecnie jest częścią Casa de l'Ardiaca. W latach 1950. przeprowadzono kompleksową renowację, konserwując m.in. oryginalne wątki rzymskie. Odtworzono też wtedy romańskie biforium.



Po lewej baszta nr 1, jeszcze bez zrekonstruowanego łuku akweduktu i biforium, zdjęcie z lat 1920.















Wschodnia część przyziemia - widać nadbudowę baszty na łuku akweduktu

Odcinek (1 łuk) akweduktu zrekonstruowany w latach 1950.:



Oryginalne części obu akweduktów tkwiące w przyziemiu baszty


Zrekonstruowane biforium
